مقایسۀ محفظۀ احتراق : در موتورهای قدیمی (دو سوپاپه)، سوخت بصورت مایل پاشش می شد و نازل پاشش چهار سوراخه، خارج از مرکز قرار داشت، که این سبب می شد، فشار پاشش حداکثر تا bar ١١٠٠برسد. در موتورهای جدید سوزن های دو مرحله ای هشت سوراخه در مرکز قرار داشته و نه تنها فشار پاشش بیشتری یعنی تاbar ١٦٠٠ تولید می کند، بلکه زمان پاشش کوتاهتری برای بهبود مخلوط شدن سوخت و هوا نیاز دارند. این روش احتراق باعث تولید گشتاور بیشتر و خروجی بیشتر با یک حجم احتراق کمتر می شود، علاوه بر این، موتور در نتیجۀ یکنواختی بیشتر احتراق، تمییزتر کار میکند.

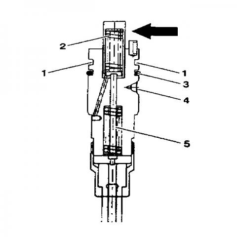
مجموعۀ نگهدارندۀ سوزن با سوزن پاشش دو مرحله ای : مجموعۀ نگهدارندۀ سوزن باید فقط توسط اهرم کردن آن به بیرون در در شیار مونتاژ یا اینکه با استفاده از سوزن کش های ضربه ای برداشته یا باز شود. مجموعۀ نگهدارندۀ سوزن هرگز نباید در شیار (فلش نشان داده شده) با انبردست و غیره محکم نگه داشته شود. هنگام برداشتن آن از تغییر حالت فنر تراکمی باید جلوگیری بعمل آید، زیرا فشار پاشش مرحله دو نمی تواند تست شده باشد. هنگام خرابی مجموعۀ نگهدارنده سوزن باید آن را بطور کامل تعویض نمود، در شکل زیر اجزاء نگهدارندۀ نازل در روی بدنۀ موتور آورده شده است:

١ . شیار مونتاژ
٢ . فنر تراکمی شمارۀ دو
٣ . رینگ روغن
٤ . سوراخ تغذیه
٥ . فنر تراکمی شمارۀ یک
سوپاپ ها : موتورهای نسل جدید برای کار بهتر دارای دو سوپاپ ورودی هوا و یک سوپاپ خروجی دود هستند، علاوه بر سه سوپاپ فوق در اینگونه موتورها سوپاپ دیگری بنام سوپاپ کاهندۀ فشار یاTop Brake ( TB ) وجود دارد، که سوزن انژکتور و انتهای سوپاپ TB ، از طریق یک قلاب به یکدیگر وصل میشوند، برای عملکرد سوپاپ های TB بطور مجزا هوای فشرده از طریق یک منیفولد به سرسیلندر می رسد، عملکرد سوپاپ فوق در کامیون های بالای دوازده تن، هنگامیکه ریتاردر فعال می شود، بدین صورت است که هوا در سرسیلندر به سوپاپ کاهش فشار و ترمز موتور( دریچۀ اگزوز ) از طریق یک سوپاپ سلونوئیدی که در شاسی نصب شده است، ارسال می گردد. علیرغم جایگزینی کمتر، ترمز بوجود آمده روی موتورهای فوق مشابه حالت ترمزیست که ریتاردر در موتورهای قدیمی بوجود می آورد، ماکزیمم ترمز ایجاد شده وقتی این سوپاپ فعال میشود، در دور rpm ٢٧٠٠ می باشد، که بالاتر از سرعت مجاز موتور یعنی rpm ٢٣٠٠ است، تصاویر مربوط به این سوپاپ ها در زیر مشاهده می گردد :

فلایویل : روی فلایویل ٣٦ سوراخ به فاصلۀ ١٠ درجه قرار دارد، که PLD را قادر می سازد، سرعت موتور را بوسیلۀ سنسور سرعت سنج تشخیص بدهد. همچنین یک سوراخ اضافی روی میل لنگ وجود داشته که بیانگر ٦٥ درجه قبل از TDC می باشد(طبق فلش شکل زیر)، برای تشخیص TDC هنگامیکه سنسور روی فلایویل خراب شده باشد، سنسور دیگری روی میل سوپاپ تعبیه شده است :

میل سوپاپ : روی دندۀ میل سوپاپ یک سوراخ وجود دارد که بیانگر ٥٥ درجه قبل از TDC می باشد، که برای تشخیص احتراق در PLD است، علاوه بر این، ١٢ سوراخ دیگر به فاصلۀ هر ٣٠ درجه، تعبیه شده است، که جهت تشخیص دور موتور در زمانی که سنسور روی فلایویل خراب شده است، بکا می رود، اجزاء Camshaft یا میل سوپاپ در زیر نمایش داده شده است :
١. بادامک سوپاپ هوا
٢. بادامک یونیت پمپ
٣. بادامک سوپاپ دود
٤. سوراخ برای سنسور TDC
پمپ گازوییل : پمپ گازوییل در مدار فشار پایین در جلوی موتور نصب شده است، پمپ سوخت یک پمپ دنده ایست که در سرسیلندر توسط محور روی میل سوپاپ به حرکت در می آید. فشار باز شدن سوپاپ جریان هنگامی می باشد، که موتور به دور آرام می رسد، سوپاپ اطمینان در فشار حدوداً bar ٩٫٥ باز می شود، که جریان در چنین حالتی ٩٫٥ لیتر بر دقیقه در دور rpm ٢٥٠٠ خواهد بود.
سیستم راه اندازی شعلۀ استارت( FLA ) : موتور بعنوان استاندارد به سیستم فوق برای بهبود استارت در وضعیت سرد و برای جلوگیری از خروج دود سفید در زمان استارت زدن مجهز شده است، واحد کنترل استارت FLA توسط دستگاه عیب یاب، قابل عیب یابی می باشد.

توربوشارژ همراه محدودکنندۀ فشار : توربوشارژ با استفاده از دود خروجی منیفولد دود، به حرکت درآمده و فشرده سازی هوای ورودی را برای تزریق به سیلندر انجام می دهد، در نتیجه هوای فشردۀ با فشار بالاتری ایجاد شده، که موتور را قادر می سازد، گشتاور بالایی را حتی در دورهای پایین و متوسط تولید نماید. در دورهای بالا و قدرت هوای ورودی، فشار ورودی و بنابراین فشار حداکثر موتور توسط سوپاپ بای پس در توربوشارژ محدود می شود، که عامل اصلی محافظت از توربوشارز در برابر ساییدگی بحساب می آید، در شکل زیر توربوشارژی بر روی موتور نشان داده شده است :

١. لولۀ فشار Boost
٢. واحد فشار
٣. سوپاپ بای پس
اجزاء کنترل الکترونیکی موتور ( PLD – FMR ) :

١. در جلوی خودرو :
- یونیت کنترل FMR :
1.1 – پدال گاز الکترونیکی.
1.2 – سیگنال سرعت خودرو C3 .
1.3 – گاز دستی که در سفارشات مخصوص نصب می شود.
1.4 – اتصال ترمینال W ( سیگنال سرعت موتور ).
1.5 – خروجی برای گیج فشار روغن و گیج مایع خنک کننده.
1.6 – کلید ترمز موتور.
1.7 – مدار PTO برای سفارشات مخصوص.
1.8 – خروجی برای ترمز موتور و سوپاپ TB، در دورهای بالای rpm ٩٠٠ .
1.9 – واحد کنترل ASR.
1.10 – وضعیت خلاص.
1.11 – کلید رانندگی(ترمینال١٥ )، خاموش کردن موتور( ترمینال ١٥ ).
1.12 – لامپ اخطار PLD یا FMR ( هنگامیکه ترمز کار می کند، خاموش می شود.)
1.13 – واحد کنترل FMR .
٢ . روی موتور :
- پمپ، لوله، سوزن (PLD ) :
2.1 – واحد کنترل PLD (با سوخت خنک می شود)، سنسور فشار جو.
2.2 – سنسور زاویۀ میل لنگ (روی فلایویل).
2.3 – سنسور TDC (روی میل سوپاپ).
2.4 – سنسور هوای فشرده.
2.5 – سنسور دمای هوای فشرده.
2.6 – سنسور مایع خنک کننده.
2.7 – سنسور دمای گازوییل.
2.8 – سنسور فشار روغن.
2.9 – دکمه های خاموش و روشن کردن روی موتور.
2.10 – فعال کنندۀ ترمینال ٥٠ در رله های سری استارت.
2.11 – واحد پمپ سیلندر یک.
2.12 – واحد پمپ سیلندر دو.
2.13 – واحد پمپ سیلندر سه.
2.14 – واحد پمپ سیلندر چهار.
٣ . دستگاه عیب یاب ( کدهای خرابی و مقادیر حقیقی ) و پارامتریزه کردن ( برنامه ها براحتی درخودرو برای سرعت های بالاتر، دور آرام و سرعت کاری و ... قابل برنامه ریزی می باشد) .
٤ . سوکت عیب یاب.
٥ . مسیر یا خطوط اطلاعاتی، بین واحدهای کنترل FMR و PLD (سیستم CAN) .
خطوط ارتباطی CAN :
تمام اطلاعات و داده های ضروری (موقعیت سوئیچ، سیگنال های سنسور و...) بین واحدهای کنترل FMR و PLD تنها از طریق سیم اطلاعاتی CAN جابجا می شوند، عبارت CAN یا Controller Area Network، کنترل شبکه ای از بخش کامپیوتر بوجود آمده است و به ین معنی می باشد که واحد های کنترل در خودرو دارای مدارات داخلی می باشد. در مقایسه با سیستم های معمولی استفاده از این سیستم باعث کاهش یا ارزان تر شدن مواردی از جمله : سنسورها، ورودی ها و خروجی ها در واحدهای کنترل، سیم های الکتریکی و اتصالات و سوکت ها می گردد، علاوه بر این باعث کاهش هزینه های نگهداری در کارخانه می شود. از طرفی کاهش منابع، باعث کاهش خطاهای احتمالی شده و سرویس و نگهداری را آسان می سازد. برای مثال با استفاده از این سیستم تنها یک سنسور درجه حرارت مایع خنک کننده برای گیج مانومتر در خودرو و همچنین کنترل موتور نیاز می باشد، در سیستم PLD سنسور درجه حرارت مایع خنک کننده به واحد کنترل PLD متصل می شود و جریان درجه حرارت مایع خنک کننده در واحد کنترل فوق پردازش شده و اطلاعات به سیستم FMR از طریق CAN ارسال می شود و در نهایت گیج مانومتر در روی داشبورد توسط واحد کنترل FMR فعال می گردد.

با توجه به شکل زیر، در سیستم PLD، ارتباط CAN، شامل کنترلرهای (٥و٧ ) در FMR و واحد کنترل PLD و چهار رشته سیم بهم پیچیده (٦) می باشد، باید توجه داشت که در این سیستم کابل ها بصورت انفرادی بهم پیچیده شده هستند. تابیده شدن کابل ها بهم، اثر تداخل امواج الکترومگنتیک را کاهش می دهد، کابل های بهم تابیده شده در شکل زیر با عدد 8 مشخص شده است.

در سیستم CAN اطلاعات بصورت کدهای باینری که زبان جابجایی اطلاعات می باشد، منتقل می شوند و معنی آن این می باشد که مقادیر منطقی صفر و یک باعث می شوند در مقادیر عددی اختلاف بوجود آید. سطح ولتاژ مقدار منطقی یک یا High در حدود دوسوم ولتاژ باطری می باشد، که با توجه به ٢٤ ولته بودن خودروهای امروزی، حدوداً ١٦ ولت محاسبه می گردد و سطح ولتاژ مقدار منطقی صفر یا Low در حدود یک سوم ولتاژ باطری یا ٨ ولت میباشد. عیب یابی کابل های مربوط به سیستم انتقال یعنی CAN-H(High) و CAN-L(Low) از داده های صفر و یک حاصل می شوند

اطلاعات از دو کنترلر CAN با استفاده از دو روش نرمال موج های مربعی kHz ٦٢٫٥منتقل می شوند، که حداکثر سرعت انتقال داده ها در این حالت ( baud واحد علامت در ثانیه می باشد.)، k- Baud ١٢٥ می باشد، سطح سیگنال در هر حالتی از CAN-H وCAN-L به منظور اینکه سیگنال های غیر منطقی مشخص شوند، معکوس می گردد. اگر سیگنالی در یک یا دو کابل فوق توسط پالس نادرست روی موج قرار گیرد، مقدار خطای (F) میتواند توسط کنترلر CAN شناسایی شود.

با توجه به شکل زیر پیغامهای انفرادی(٩) سیگنال موج مربعی برای کنترلرهای CAN قابل شناسایی است، همچنانکه آنها توسط استارت و آخرین بیت(١٤و١٠) قابل شناسایی است، یک پیغام بطور کلی شامل سطح کنترل(١١) و سطح اطلاعات(١٢) می باشد، سطح کنترل یا سطح شناخته شده شامل شناخت بیتها و سطح اطلاعات بایتهای اطلاعاتی می باشد، صورت ظاهری پیغام بطور پایه ای همواره قابل تشخیص است یا به عبارتی استاندارد شده است، که این فقط اطلاعاتی که شامل تغییراتی مطابق با نیاز مخصوصی می باشد را در بر می گیرد، در حالت کلی شکل امواج همواره مشخص است، فقط رد مواردی تغییرات جزئی در اثر نویزها وجود خواهد داشت.

اطلاعاتی راجع به نوع، شماره و اهمیت یا تقدم بایتهای اطلاعاتی شامل تشخیص(ID) می باشد. اگر چندین واحد کنترل در سیستم CAN فعال باشد، ممکن است واحد کنترل مشخص کنندۀ وضعیت، پیغام بخصوصی را در نظر بگیرد. سطح اطلاعات توسط سطح کنترل پیروی میشود، که پیغام های خطای غیر قابل دسترس در آن شناسایی می شود، و این بدین معنیست که پیغام های خطا توسط دریافت کنندۀ واحد کنترل در نظر گرفته نمی شوند. پیغام هایی که شامل این مورد می شوند، برای مثال: وضعیت سوییچ الکتریکی( گیربکس ) در وضعیت خلاص، ترمز موتور در حالت روشن یا خاموش، سیگنالهای الکتریکی یا مقدار سنسور (سرعت موتور جاری، دمای مایع خنک کننده جاری و...)، پارامترهای ذخیره شده( دور آرام، نوع کنترلر) میباشند.
تا به امروز و قبل از ورود سیستم کن، اطلاعات با سیم های انفرادی ارسال می شد یا بستگی به تنظیمات و موقعیت های مکانیکی داشت، مثل پارامتر دور آرام، بنابراین قابلیت دسترسی به اطلاعات ثابت بود. در سیستم کن تمامی پیغامها بصورت زنجیره وار ارسال می شوند و حالت فوق دیگر وجود ندارد، این پیغام ها شامل: مقادیر دینامیکی بی نهایت( وضعیت پدال گاز و سرعت موتور جاری )، مقادیر استاتیک( دور آرام ) می شود. تمام مقادیر در این سیستم بطور ثابت و سیکلی تکرار می شوند و مقادیر دینامیکی بطور ثابت برای کنترل فرایند واحدهای الکترونیکی در دسترس هستند، بطوریکه تعدادی از پیغام ها در هر ثانیه عوض می شوند که موضوع بستگی به فرکانس زمانی دارد. پیغامهایی که دارای مقادیر دینامیکی هستند، اغلب بیشتر ارسال می گردند و پیغامهایی که تقدم بیشتری دارند، در کلماتی با زمان سیکلی کوتاهتر در دستور سیستم کن می باشند.
توانایی های کاری سیستم کن :
کابل کن با داشتن توانایی یک سیمه بودن، بین واحد های کنترل FMR وPLD میباشد، که اگر خطایی بوجود آید، کلیدهای کنترلر کن اطلاعات را از طریق سیم تکی انتقال می دهد، مانند حالت زیر :
- مدار باز یا اتصال کوتاه به UB4 از CAN-H یا CAN-L .
- اتصال به زمین CAN-H یا CAN-L .
- اتصال کوتاه CAN-H به CAN-L .
کابل کن حتی در اثر حوادث و کاهش ولتاژ تا هفت ولت می توانداستارت را راه اندازی کند، که البته ممکن است در این حالت خطاهایی برای هر دو واحد کنترل پیش آید، که آنها را در نظر نمی گیرند(شکل١). تنها حالتی که در آن کابل کن نمی تواند وظایف خود را انجام دهد، حالتی است که در آن خطای بوجود آمده بر اثر قطع شدن کابل کن ایجاد شده باشد. در حالت کلی موتور در یک دور ثابت بدون توجه به بار موتور شروع به کار خواهد کرد، که با توجه به دور اضطراری موتور یعنی دور rpm ١٣٠٠ باید مدار را باز یا اتصال کوتاه به UB4 از CAN-H یا CAN-L نماییم، یا CAN-H یا CAN-L را به زمین اتصال کوتاه کنیم یا هر دو مدار کابل های بدنۀ کن را باز می کنیم( مدار زمینhf ).